대학교수 또는 공공기관의 전문가와 참신한 아이디어를 갖춘 대학(원)생이 컨설팅 팀을 만들어 소상공인 분야에 새로운 바람을 불어 넣는다. 중소기업청(청장 한정화)과 소상공인시장진흥공단(이사장 이일규)은 소상공인 컨설팅 분야에 전문가의 지식·노하우와 대학(원)생의 참신성을 활용하고자 관련 전공 대학교수와 대학(원)생이 팀을 구성해 컨설팅을 수행하는 것을 내용으로 하는 ‘산학협력컨설팅 지원사업’을 별도로 추진한다. 산학협력컨설팅 팀 구성은...
최근 ‘인문계 대학 졸업생 90%가 논다’ 라는 용어가 생겨날 만큼 취업에 어려움을 겪고 있는 인문계 전공 청년들에게 인문·기술 융합 훈련과정을 설계하고, SW 등 이공계 교육훈련에 참여할 의사가 실제 높은 것으로 나타났다. 고용노동부는 지난달 4월 직업능력개발연구원이 대학 3·4학년 재학생 861명을 대상으로 실시한 교육훈련 수요조사 결과에 따르면 인문·사회 등 문과계열 학생의...
서로 다른 네크워크인 LTE망과 와이파이(WiFi)망을 동시에 사용해 데이터 속도를 높여 무선통신 1기가(Gbps) 시대가 눈앞에 다가왔다. SK텔레콤은 LTE망과 와이파이망을 동시에 사용하는 이종망 동시 전송 신기술 ‘멀티패스(Multi-Path)’의 네트워크 적용을 완료했다고 11일 밝혔다. 이에 따라 SK텔레콤은 제조사와 함께 진행 중인 단말 적용 테스트가 마무리되면 일부 단말의 업그레이드 형태로 상용 서비스를...
IBM리서치가 양자 비트수를 확장해 복잡하고 엄청난 데이터를 순식간에 처리할 수 있는 양자 컴퓨팅 아키텍처를 개발했다고 한다. 양자 컴퓨터 실현을 위한 큰 숙제인 비트 반전 에러/국면 반전 에러를 보정할 수 있는 용장성(冗長性)을 갖게 한 아키텍처로 규모를 확대시키기 쉽다고 한다. 용장성: 규정된 기능을 수행하기 위한 요소 또는 수단을 부가하여 그 일부가...
미래창조과학부는 국내 소프트웨어 기업의 클라우드 서비스 기술력과 역량을 강화하여 글로벌 시장에 진출할 수 있도록 돕는 ‘2015 클라우드 SaaS(Software as a Service) 서비스 지원 사업’을 시작한다고 밝혔다. ‘SaaS’란 SW를 구매하지 않고 네트워크에 접속하여 빌려 쓰는 방식의 컴퓨팅 서비스를 말한다. 이번 지원 사업은 SaaS 개발이 가능한 국내 중소 소프트웨어...
러시아 우주화물선 잔해물이 대기권에서 모두 불타 전소된 것으로 확인됐다. 미래창조과학부와 한국천문연구원은 러시아 우주청(Roscosmos)의 발표를 인용, 러시아 우주화물선 ‘프로그레스 M-27M’ 잔해물이 태평양 상공에서 지구 대기권에 재진입하여 전소된 것으로 확인했다고 밝혔다. 러시아 우주화물선은 지난 4월 28일(이하 한국시간)에 발사된 러시아 우주화물선 프로그레스 M-27M이 5월 8일(금) 17시 59분 영국과 프랑스 사이 영국해협 상공에서...
기획재정부는 11일 한 중앙 일간지가 보도한 '벤처 창업자에게 병역특례 추진' 기사와 관련해 “현재 벤처·창업 활성화 방안을 마련하기 위해 정책과제를 발굴 중”이며 “보도 내용의 추진여부 및 구체적 내용은 결정되지 않았다”고 해명했다.관련 매체는 “정부는 벤처 창업자에까지 병역특례 확대, 해외유학생 등이 창업시 국내정착 인프라 지원, 벤처기업 스톡옵션 확대 등의 내용을 담은 벤처·창업 지원방안을 마련한다”고...
지난달 우리나라의 정보통신(ICT) 수출은 지난해 같은 달과 비교해 2.7% 감소한 143억 4000만달러, 수입은 3.9% 증가한 75억 7000만달러로 67억 7000만달러의 흑자를 달성한 것으로 나타났다. 또한 시장조사업체 가트너에 따르면 올해 세계 ICT 시장은 컴퓨터·휴대폰·SW 등 ICT 전반의 성장률 둔화가 맞물려 2009년 이후 6년 만에 역성장이 예상되고 있다. 우리나라 ICT 수출의 경우,...
말은 사람끼리 지식과 정보, 마음과 뜻을 서로 주고받는 연모요 수단이고, 이 연모와 수단은 배우고 쓰기 쉬워야 한다. 또 가장 쉽고 바른 말글살이는 우리말을 우리 글자인 한글로 적는 말글살이다. 한말글(한겨레 말과 글)은 우리 스스로 즐겨 쓸 때에 살고 빛나며, 한말글이 살고 빛나야 우리 겨레와 나라가 살고 빛난다. 그리고 세계 역사서도...
아마존(Amazon)이 2015년 4월 30일에 집 주소뿐 아니라 스마트폰의 위치 추적 시스템을 활용해 받을 사람이 있는 곳으로 곧바로 배송해주는 것을 골자로 하는 드론(Drone) 배송 시스템 관련 특허(UNMANNED AERIAL VEHICLE DELIVERY SYSTEM(20150120094, 30 Apr 2015)를 미국특허청으로부터 취득했다. 이 특허는 2014년 9월 30일에 출원했다. 아마존이 취득한 이번 특허의 핵심 중 하나는 현재...
구글(Google)이 또 문샷적인(Moon-shot, 달나라에 가는 10년 이상의 비현실적인 사업) 조종사 없는 무인 여객기(Self-Flying Jet) 개발의 프로젝트를 진행 중인 것으로 알려졌다. 지난 7일(현지시간) 영국 ‘데일리메일(www.dailymail.co.uk)’ 보도에 따르면 “무인 여객기 프로젝트는 드론(Drone) 프로젝트인 윙 프로젝트(Project Wing)의 일환으로 진행되고 있다”고 전했다. 윙 프로젝트는 그동안 택배에 타겟을 맞추어 추진해왔다. 2015년 2월 미국 연방항공청(FAA)에서의 불허와 아마존의 추격...
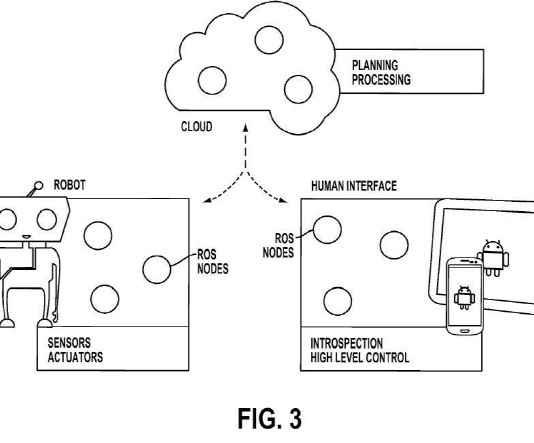
구글이 클라우드 컴퓨팅 방식으로 웹을 통해 다수의 로봇들을 원격 제어하는 기술 방식에 대한 특허를 2015년 3월 31일에 등록했다. 이는 2012년 4월에 출원한 것으로, 로봇은 사람과 사물과 음성만 센싱해 클라우드로 보내면 클라우드 내의 검색엔진과 머신러닝, 딥러닝 등의 인공지능이 그게 누구인지, 그것이 무엇인지를 판단해 어떤 동작을 하라고 명령하는 것이다. 따라서 로봇에...
























![[보고서] 딥씨크 출현과 한국 AI 미래전략](http://itnews.or.kr/wp-content/uploads/2025/02/7-218x150.png)

![[2024 애플 동향] ③ 애플카 ‘프로젝트 타이탄’의 실패 원인](http://itnews.or.kr/wp-content/uploads/2024/03/1-2-218x150.png)
![[2024 애플 동향] ② 애플카 ‘프로젝트 타이탄’ 10년간 의 여정](http://itnews.or.kr/wp-content/uploads/2024/03/4-218x150.png)
![[2024 애플 동향] ① 애플 프로젝트 타이탄’ 종료](http://itnews.or.kr/wp-content/uploads/2024/03/Midjourney-218x150.png)












